欢迎您,请 登录 或 注册

当前位置:首页 医疗器械维修 基础 电子 查看内容

大容量开关电源的设计

2017-7-14 16:34 阅读: 333 评论: 0 编辑: ygzx1
[导读]1 引 言在通讯、电力领域,要求的直流电源系统输出的电流电压各不相同。对于大容量电源系统,往往采用多个同一电压等级的小容量电源模块并联的方法来实现,但如果并联的电源模块太多,就不利于均流和可靠性,因此用 ...
1 引 言
在通讯、电力领域,要求的直流电源系统输出的电流电压各不相同。对于大容量电源系统,往往采用多个同一电压等级的小容量电源模块并联的方法来实现,但如果并联的电源模块太多,就不利于均流和可靠性,因此用户迫切要求大容量电源模块的出现,基于这种背景作者开发了大容量开关电源。目前的大容量开关电源一般是由主电路、控制电路组成,而智能化开关电源,往往还有微机构成的数控系统--在实现智能化功能的同时,还对开关电源的一些关键参数及各种故障信号进行检测传送给上位机,同时上位机的一些控制量也可通过微机系统对开关电源的输出电压、电流进行控制,本文采用PIC单片机作为开关电源智能化的核心引导控制电路和主电路进行工作。大容量开关电源主电路中的逆变电路一般为H桥式结构,可以采用硬开关方式或软开关方式,这2种方式在国外优秀的大容量开关电源中都在广泛应用。在本电源中为了简化电路结构和生产工艺,采用了硬开关技术。但是,硬开关的开关损耗大于软开关的开关损耗,因此,要合理选择工作频率和损耗较小的开关器件至关重要。如果设计合理,硬开关技术仍然极具生命力。由于开关电源常用的控制方法、主电路结构形式及其相关技术已经非常成熟,因此本文仅对大容量开关电源设计中的几种新技术进行介绍:PFC技术、工作稳定性、多电源并联均流。
2 功率因数校正电路的设计大容量开关电源的进线一般为三相380VAC,为了减少谐波,直流电源系统往往在进线侧统一加无源滤波。为了提高功率因数,每一电源模块在输入侧增加了三相单开关PFC电路。当输入侧的交流电压变化土20%时,整流后的直流电压变化土20%,经过PFC控制就可以使一次侧直流母线电压基本保持在670VDC,这样在提高功率因数的同时还可以减小后级逆变变压器的体积。三相单开关PFC主电路一般有2种方案:(1)图1(a)所示的主电路,其控制方式类似于单相PFC,采用了UCl854高频有源PFC专用控制芯片,三相桥式整流后的每周期6波头电压,分压输入到UCl854作为电流给定信号,UCl854通过对开关S的通断控制,使通过电感乙的电流也是每周期6波头,这样,每相的电流波形虽然不能逼近正弦波,但功率因数得到很大的提高,谐波减少。(2)如图1(b)的电路,在三相进线端分别加电感,当S闭合时,三相电源通过S分别为3个电感激磁,电感电流从零线性上升;当S关断时,电感电流逐渐降为0,在一个载波周期里,电感电流近似为三角波,但每相的平均电流与输入电压成正比,进线每相电流的峰值包络线自然而然地形成正弦波,而且电流相位与电压相位一致,校正了功率因数。比较图1(a)和图1(b),图1(a)中只用了一个电感,结构简单,在设计的电源中得到应用。
3 斜波补偿及工作稳定性分析控制电路的核心是电流型双路推挽输出的UC3825,电源中所有的故障、启停都可通过控制芯片的启停来实现。控制电路包含了输出电压、电流控制器;电网输入的过压、欠压、缺相保护;输出直流电源的过压、短路保护;散热器的过温保护;风扇的智能驱动及故障检测;几组模拟电压、电流给定信号的自动切换,微控板可以检测到所有的信号。如果说主电路的设计优劣关系到整机可靠性的话,那么,控制电路将直接影响到输出直流电源的品质。控制主芯片UC3825为电流型器件,所有电流型PWM控制器件有一个共同的特点:当反馈电流大于内部给定电流时立即关断所驱动的器件。这样,当反馈电流的波形前沿有毛刺时很容易引起系统的不稳定。解决的方法有:(1)在电磁式电流互感器两端并接电容去掉毛刺;(2)充分利用器件特性,在器件的电流输入端和振荡器斜波输入端并接电容、阻容。事实证明:这两种方法都能克服系统的不稳定。根据主电路方案及性能要求,输出电流、输出电压采用双路并联控制方式,其中电流环为比例一积分控制的单环系统,电压环为双闭环系统,内环为电流环,外环为电压环,采用比例一积分一微分控制方式。动态结构图如图2所示,虚线框内是电流环的动态结构图。图2中A,B分别为电流电压反馈系数,其他参数对应各自环节的物理量。
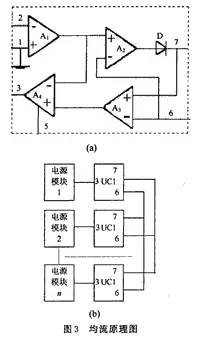
根据动态结构图,设计出调节器的参数,可以得到优异的静、动态性能。4 均流措施用户要求直流电源系统输出的电流各不相同。对于大电流系统,往往采用较小电流的电源模块并联集成,这就要求电源模块并联工作时能够很好地均流。目前,均流方法的发展方向是自主均流,自主均流的原理如图3(a)所示,2脚为电流取样输入端,经过A1放大后输出给A2同相放大,A2输出的7脚正是均流母线的正端,如果当并联的所有电源模块的均流母线正端接在一起、负(6脚)端全部接地时,如图3(b)所示,那么均流母线正端的电压值反映的是并联各模块中的电流最大值。由于二极管的单向导电性,只有电流最大的模块中的二极管才导通。正常情况下,各模块分配的电流是均衡的。如果负载等外界因素发生变化使各模块分配的电流不均衡,那么,总有一个模块的电流最大,自动成为主模块,其他模块成为从模块,通过图3(a)的A3,A4放大器输出端3脚的电压值,改变各自模块PWM控制信号宽度,跟踪主模块的电流基准,以达到与主模块均流的目的。UC3902是较好的均流器件,图3(a)的管脚与UC3902一致。在使用中需要注意的是第5脚要接电阻、电容到控制地,而且电阻阻值较小,电容值较大。目的是为了使均流调节慢于电压环、电流环的调节,否则,可能导致电源系统不稳定。
5 实验结果及结论通过对3台20A/200V和1台30A/220V电源的测试,其性能如表1所示。
从性能指标及测试结果可以看出,整个电源的各项指标都达到了很高的水准,说明设计是合理的、先进的。

最新评论

扫码打开小程序

扫码安装APP

返回顶部